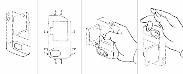
小さな指穴が、グリップとストラップ両用の効果を発揮します。
気楽に小指または薬指にぶら下げて歩きながら即座に撮影体勢へ!!
終始、指を抜き差しする必要はありません。
ポケットから取り出すなり半回転させて瞬く間に撮影体勢へ!!
撮影チャンスを逃しません。
使い終わるとクルッと半回転させてスルリとポケットに滑り込ませる。
まるでガンマンのような素早さ!!
ガンアクションならぬデジカメアクションを可能にするデジカメです。
使用体制になるとストラップからグリップに変身します。
指を挿入している事でスベリ落とす不安を解消!!
ガッチリ持てて手ブレを防止。
デジカメを持った手で缶コーヒーが飲める。
チケットを差し出す。 スターと握手する。
ケータイを持ったまま何でもできてしまう便利さです。
行楽地などで長時間デジカメを持ったまま歩く事も苦になりません。
//////////// 
















モック写真はこちら⇒

★ 意匠登録1233833 ★ デジタルカメラ(b)


【意匠に係る物品】 デジタルカメラ
【登録番号】 意匠登録第1233833号
【部分意匠】 (部分意匠登録です)
【本意匠の意匠登録番号】意匠登録第1233362号
【登録日】 平成17年2月4日
【意匠権者】 横山龍彦
【図面】
  

本、意匠は「部分意匠登録」です。
部分意匠として意匠登録を受けようとする部分を実線で、その他を破線で表しています。
一点鎖線は部分意匠として意匠登録を受けようとする部分とそれ以外の部分との境界を示す線です。

詳細につきましては、「特許電子図書館」ホームページ「意匠広報テキスト検索」ページからご覧下さい。

最も簡単なご覧頂き方 
   @ 「意匠広報テキスト検索」ページを開いてください。
   A 意匠権者/出願人の項目に横山龍彦と入力し、検索ボタンをクリックして下さい。(他は空白で結構です)
   B 一覧表示ボタンが現れますのでクリックしてください。
   C ご覧になりたい文献番号(登録番号)をクリックして下さい。

注: 当サイトに掲載のモック(実寸試作模型)について 
   モックの先端部に再現されたハードストラップ(仮称)(指が挿入できる貫通口)部分が、部分意匠として登録され
   た部分です。(上図及び意匠広報をご参照下さい。)
   その他の部分やフォルムは、実施例として用いたデザインであり、当方の意匠権は及んでおりません。
   モックは、より使いやすく、リデザインしています。

 
 本案(意匠)は、意匠登録第1233362号の関連意匠として出願登録したものです。
 意匠登録第1233362号との違いは、液晶モニターの開き方のみと言って良いでしょう。

 ※ 意匠登録第1233362号のページをお読みいただいた方は、このページをお読みいただく必要はありません。
    写真は異なりますが、文面は意匠登録第1233362号のページと同一です。

 本案(意匠)は、主として動画撮影が可能なガングリップタイプのデジタルカメラに、トリガーガードスタイルに「ハ
 ードストラップ」を与えた意匠です。
 従来のガングリップタイプのデジタルカメラは、拳銃を彷彿させる撮影スタイルで、腕に負担が掛からず、動画撮
 影も楽に行なう事ができる利点がありましたが、操作性の面では、スベリ落としやすく拳銃のようにはいきません
 でした。
 (もちろん西部劇を見たり、モデルガンを持ってみての比較です)
 その、決定的な違いは、デジタルカメラにはトリガーガードが存在しない為です。 
 拳銃は、トリガーガードに指1本を挿入していることで、携帯機器?の中でも卓越した操作性を実現させています。
 本案(意匠)は、デジタルカメラに、言わばトリガーガードを与えることで、ポケットから取り出すなり半回転させて
 瞬く間に撮影体勢に入り、使い終わるとクルッと半回転させてスルリとポケットに滑り込ませるという、拳銃のよう
 な操作性を可能にしました。
 しかも、スベリ落とす不安が解消され、手ブレを防止する事もできます。
 ガンアクションならぬデジカメアクションを可能にするデジカメです。

【概要】
  
 現在市販されているデジタルカメラには、半世紀もの間、変わる事無く使われてきた、ひも状のストラップが一様に取り
 付けられていますが、なにかと忙しく、スピーディーさが要求される昨今では、ストラップに指や腕を通す作業そのものが
 面倒で、実際にストラップに指や腕を通してデジタルカメラを使用している人は、あまり存在しなくなってきました。
 長年活躍してきたストラップも、現代の生活習慣には、即さなくなってきた言わざるをえません。
 その為、デジタルカメラは、常にスベリ落とす不安と隣り合わせで使用されているのが現状です。
 観光地の散策などでは、デジカメを手にしたまま歩く時間が長くなりますが、常にデジカメを落とさないように気を使いなが
 ら歩かなければなりません。
 また、デジタルカメラを手にしていると、自販機の使用はもちろん、遊園地などでの入場切符の差し出しにも困り、子供の
 手も引けないなど、しばしば不便な場面に遭遇します。
 この、不便さに着目し、スペースの限られたデジタルカメラにグリップとストラップ両用の効果を与える究極の方法として
 創作致しましたものが、小指、または薬指を挿入できる貫通口を持たせたハードストラップデジタルカメラ(仮称)です。

【機能・特徴】 
 
 本案(意匠)は、必要に応じて、ハードストラップ(貫通口)に小指、または薬指を挿入して使用します。
 どの指を挿入するかは、手の大きさ、撮影体制などにより、自由に選択していただけます。

 @ 貫通口に指を挿入せず、従来のデジタルカメラと同じように持つ
    新しい物、新しい使い方に消極的な方にも、安心して使用して頂けます。あらゆる志向の方にグローバルに対応でき
    る、本案(ハードストラップ)の大きな利点の一つですです。
    ちょい撮りする時にも。
    

 A 貫通口に指を貫通させて持つ
    手ブレを抑えて慎重に撮影したり、観光地の散策などで長時間手にして歩きたい時。
    設定操作も、スベリ落とす不安も無く、片手だけでも安心して行なえます。
   

 C 貫通口に指を貫通させてぶら下げる (この瞬間に貫通口がグリップからストラップに変身します)
    デジタルカメラを持ったまま、入場切符を差し出す、手すりにつかまる、傘をさすなどの日常の作業をしたい時。                     
   
 ◎ 本案(ハードストラップ)の最大の利点は、ぶら下げた状態から即座に撮影体勢に戻れる事です。 
    もちろん、指を抜き差しする必要はありません。
   (この瞬間に貫通口が、ストラップからグリップに変身します。)

 ( 写真は、すべて薬指を挿入した場合の一例ですが、小指を挿入する方法もあります。 )

ハードストラップは、その他にもデジタルカメラに数々の利点をもたらします。

ハードストラップに指を挿入していることで、縦撮り横撮りの移項の際も、スベリ落とす不安も無く、手ブレを抑えて安心し
  て撮影する事ができます。
  

観光地や遊園地では、デジタルカメラを常に手にして歩きがちになりますが、不意に手を使わなくてはならない場面にし
  ばしば遭遇します。
  自販機の使用や切符の差出し、待っていた乗り物が急に来た時など、手がふさがっていて慌ててしまいがちです。
  こんな時も、ハードストラップデジカメなら、数本の指が自由に使える為、デジカメをポケットに仕舞い込む事無く対応で
  きますので、慌てる必要も無く、子供の手を引く事もできます。
  小指を挿入している時は4本の指が、薬指を挿入している時は3本の指が自由に使えますが、3本の指が使えれば、施
  錠、傘をさす、コンビに袋を持つなど、日常のほとんどの作業がデジタルカメラを持ったまま行なう事が出来ます。

1本の指を挿入している事で多くの指が自由に使える為、ともすれば複雑な設定操作も片手だけで安心して行なう事がで
  きます。

ユニバーサルデザイン
  以上の利点を持つ、ハードストラップは、お体の不自由な方にとりましても大きな味方になります。

自分自身のうっかりミスによる紛失の危険性を半減できるだけでなく、ヒッタクリ等の、犯罪抑止にもなります。

携帯電話機などでは、振る事で色々な操作を行なう機能も注目されていますが、便利な反面、うっかりスベリ落とす危険
  性も増大します。
  将来的に、この機能をデジタルカメラに与えた場合、スベリによる落下が防止できる本案は、大きな威力を発揮します。

ひも状のストラップは、バッグやポケット内でデジカメ本体に思わぬ擦り傷を付けてしまう事がありますが、そんな心配から
  も開放され、バッグやポケットの中で絡む事も無く、テーブルの上に置いた時も、スッキリとスマートです。
ハードストラップ(指穴)をデジタルカメラにあしらう事で、従来の商品に類を見ないユニークなデザインを無数に創造して
  頂くことができます。
自分自身のうっかりミスによる紛失の危険性を半減できるだけでなく、ヒッタクリ等の、犯罪抑止にもなります。

携帯電話機などでは、振る事で色々な操作を行なう機能も注目されていますが、便利な反面、うっかりスベリ落とす危険
  性も増大します。
  将来的に、この機能をデジタルカメラに与えた場合、スベリによる落下が防止できる本案は、大きな威力を発揮します。

ひも状のストラップは、バッグやポケット内でデジカメ本体に思わぬ擦り傷を付けてしまう事がありますが、そんな心配から
  も開放され、バッグやポケットの中で絡む事も無く、テーブルの上に置いた時も、スッキリとスマートです。

ハードストラップ(指穴)をデジタルカメラにあしらう事で、従来の商品に類を見ないユニークなデザインを無数に創造して
  頂くことができます。


【実施態様】
 ネコミミハードストラップ部の構造につきましては、ネコミミケータイと共通しますので、こちらをご覧頂け
 ましたら幸いです⇒

■ハードストラップがデジタルカメラにもたらす利点は、多くの点で携帯電話機に共通しますので、こちらも合わせてご覧頂
  けましたら幸いです。⇒

モック写真はこちらをご覧下さい。⇒

 本案は、従来のストラップを完全に否定するものではありません。
 今まで通り、従来のストラップを使用したい方や、アクセサリーをぶら下げたい方の為に、「ストラップ取り付け穴」は従来通
 り残す事を前提に創作しています。
  その為、すべてのモック(実寸試作模型)に「ストラップ取り付け穴」を従来の携帯機器と同様に欠くことなく再現してい ま
 す。